|
|
|
Amplificatoare
de linie
ISeria
EM 300I ISeria EM 450I ISeria
AT 860I
EM
300 - Amplificatoare de linie cu cale inversa

Descriere
functionala
-
Amplificator
profesional pentru retele interactive multi-media CATV
-
Banda
de frecventa:
-
calea directa 45…300 MHz
-
calea inversa 5…30 MHz
-
Integrate
hibride Philips in tehnica power-doubler sau push-pull
-
O iesire
RF
-
Alimentare
locala sau telealimentare
-
Carcasa
din tabla
| Date
tehnice generale |
|
EM
300 P
|
EM
300 PT
|
| Dimensiuni L x l x H |
|
177 x 148 x 50 mm
|
177 x 148 x 50 mm
|
| Greutate |
|
aprox. 0,880 Kg
|
aprox. 0,880 Kg
|
| Gama temperatura operare |
|
-25…+70 grd. C
|
-25…+70 grd. C
|
| Putere absorbita |
|
14 VA, alimentare locala
|
14 VA, telealimentare
|
| Tensiune alimentare |
|
220 Vac, 50 Hz
|
34…80 Vac, 50 Hz *
|
| Conexiuni: |
cablu coaxial |
F
|
F
|
| |
impedanta |
75 ohm
|
75 ohm
|
| Caracteristici
tehnice |
| Banda frecventa: |
calea directa
|
45…300 MHz
|
45…300 MHz
|
| |
calea inversa
|
5…30 MHz
|
5…30 MHz
|
| Calea directa: |
return loss
|
min 16 dB
|
min 16 dB
|
| |
amplificare
|
29 dB
|
29 dB
|
| |
factor de zgomot
|
tipic 7 dB
|
tipic 7 dB
|
| |
gama reglaj nivel
|
0…20 dB
|
0…20 dB
|
| |
neliniaritate
|
+/- 0,5 dB
|
+/- 0,5 dB
|
| |
gama reglaj tilt
|
0…16 dB
|
0…16 dB
|
| |
nivel iesire (DIN 45004B)
|
tipic 122,5 dBµV
|
tipic 122,5 dBµV
|
| Calea inversa: |
amplificare
|
6 dB
|
6 dB
|
| |
reglaj nivel
|
0…20 dB
|
0…20 dB
|
| |
return loss
|
min 20
|
min 20
|
| |
nivel iesire (DIN 45004B)
|
110 dBµV
|
110 dBµV
|
| * gama 34…80
Vac se imparte in 6 subgrupe selectabile prin cleme cu surub: |
|
Tensiune
[Vac]
|
Clema
|
Tensiune
[Vac]
|
Clema
|
Tensiune
[Vac]
|
Clema
|
|
70…80
|
1
|
53…61
|
3
|
39…45
|
5
|
|
61…70
|
2
|
45…52
|
4
|
34…39
|
6
|
|
|
|
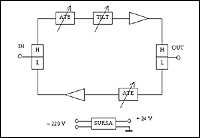
Schema
bloc amplificator de linie
EM
300 P
|
Schema
de montaj amplificator de linie EM 300 P, EM 300 PT
|
|
|
|